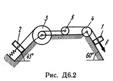
Решение задачи Д6 Вариант 21 - по термеху из Тарга С.М. 1989 года. Условие к задаче Динамика 6: Механическая система состоит из грузов 1 и 2, ступенчатого шкива 3 с радиусами ступеней R3 = 0,3 м, r3 = 0,1 м и радиусом инерции относительно оси вращения ρ3 = 0,2 м, блока 4 радиуса R4 = 0,2 м и катка (или подвижного блока) 5 (рис. Д6.0 — Д6.9, табл. Д6); тело 5 считать сплошным однородным цилиндром, а массу блока 4 — равномерно распределенной по ободу. Коэффициент трения грузов о плоскость f = 0,1. Тела системы соединены друг с другом нитями, перекинутыми через блоки и намотанными на шкив 3 (или на шкив и каток); участки нитей параллельны соответствующим плоскостям. К одному из тел прикреплена пружина с коэффициентом жесткости c. Под действием силы F = f(s), зависящей от перемещения s точки ее приложения, система приходит в движение из состояния покоя; деформация пружины в момент начала движения равна нулю. При движении на шкив 3 действует постоянный момент М сил сопротивления (от трения в подшипниках). Определить значение искомой величины в тот момент времени, когда перемещение s станет равным s1 = 0,2 м. Искомая величина указана в столбце «Найти» таблицы, где обозначено: v1, v2, vC5 — скорости грузов 1, 2 и центра масс тела 5 соответственно, омега3 и омега 4 — угловые скорости тел 3 и 4. Все катки, включая и катки, обмотанные нитями (как, например, каток 5 на рис. 2), катятся по плоскостям без скольжения. На всех рисунках не изображать груз 2, если m2 = 0; остальные тела должны изображаться и тогда, когда их масса равна нулю.
Сразу после оплаты Вам будет предложена ссылка для скачивания задачи Д6 Вариант 21 (соответствует рисунку 2 условию 1) по теоретической механике из решебника Тарга С.М. 1989 года для студентов-заочников машиностроительных, строительных, транспортных, приборостроительных специальностей высших учебных заведений. Задача оформлена в формате word, добавлена в архив zip.
Буду очень признателен, если Вы после успешной сдачи работы оставите положительный отзыв. Для меня это очень Важно.
Заранее спасибо.
Отзывов от покупателей не поступало