Содержимое: d6-43.zip (42.16 KB)
Загружен: 04.07.2013

Положительные отзывы: 0
Отрицательные отзывы: 0

Продано: 5
Возвраты: 0

Продавец: TerMaster
информация о продавце и его товарах

Задать вопрос

Cкидка постоянным покупателям! Если общая сумма ваших покупок у продавца больше чем:

$1 скидка 1%
$3 скидка 2%
$5 скидка 3%
$15 скидка 5%
$30 скидка 7%
$50 скидка 10%
$250 скидка 15%
~ 67 ₽
Точная сумма — на странице оплаты
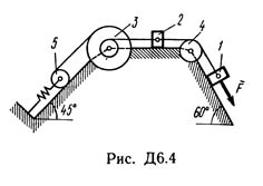
Решение задачи Д6 Вариант 43 - по термеху из Тарга С.М. 1989 года. Условие к задаче Динамика 6: Механическая система состоит из грузов 1 и 2, ступенчатого шкива 3 с радиусами ступеней R3 = 0,3 м, r3 = 0,1 м и радиусом инерции относительно оси вращения ρ3 = 0,2 м, блока 4 радиуса R4 = 0,2 м и катка (или подвижного блока) 5 (рис. Д6.0 — Д6.9, табл. Д6); тело 5 считать сплошным однородным цилиндром, а массу блока 4 — равномерно распределенной по ободу. Коэффициент трения грузов о плоскость f = 0,1. Тела системы соединены друг с другом нитями, перекинутыми через блоки и намотанными на шкив 3 (или на шкив и каток); участки нитей параллельны соответствующим плоскостям. К одному из тел прикреплена пружина с коэффициентом жесткости c. Под действием силы F = f(s), зависящей от перемещения s точки ее приложения, система приходит в движение из состояния покоя; деформация пружины в момент начала движения равна нулю. При движении на шкив 3 действует постоянный момент М сил сопротивления (от трения в подшипниках). Определить значение искомой величины в тот момент времени, когда перемещение s станет равным s1 = 0,2 м. Искомая величина указана в столбце «Найти» таблицы, где обозначено: v1, v2, vC5 — скорости грузов 1, 2 и центра масс тела 5 соответственно, омега3 и омега 4 — угловые скорости тел 3 и 4. Все катки, включая и катки, обмотанные нитями (как, например, каток 5 на рис. 2), катятся по плоскостям без скольжения. На всех рисунках не изображать груз 2, если m2 = 0; остальные тела должны изображаться и тогда, когда их масса равна нулю.
Сразу после оплаты Вам будет предложена ссылка для скачивания задачи Д6 Вариант 43 (соответствует рисунку 4 условию 3) по теоретической механике из решебника Тарга С.М. 1989 года для студентов-заочников машиностроительных, строительных, транспортных, приборостроительных специальностей высших учебных заведений. Задача оформлена в формате word, добавлена в архив zip.

Буду очень признателен, если Вы после успешной сдачи работы оставите положительный отзыв. Для меня это очень Важно.
Заранее спасибо.
Отзывов от покупателей не поступало