Содержимое: d10-20.zip (26.45 KB)
Загружен: 08.07.2013

Положительные отзывы: 2
Отрицательные отзывы: 0

Продано: 3
Возвраты: 0

Продавец: TerMaster
информация о продавце и его товарах

Задать вопрос

Cкидка постоянным покупателям! Если общая сумма ваших покупок у продавца больше чем:

$1 скидка 1%
$3 скидка 2%
$5 скидка 3%
$15 скидка 5%
$30 скидка 7%
$50 скидка 10%
$250 скидка 15%
~ 64.58 ₽
Точная сумма — на странице оплаты
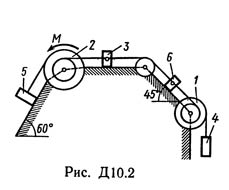
Решение задачи по теормеху из Тарга С.М. 1989 г. Д10 Вариант 20. Условие к задаче Динамика 10 (Полное условие на странице 91): Механическая система состоит из однородных ступенчатых шкивов 1 и 2, обмотанных нитями, грузов 3—6, прикрепленных к этим нитям, и невесомого блока (рис. Д10.0 — Д10.9, табл. Д10). Система движется в вертикальной плоскости под действием сил тяжести и пары сил с моментом М, приложенной к одному из шкивов. Радиусы ступеней шкива 1 равны: R1 = 0,2 м, r1 — 0,1 м, а шкива 2 — R2 = 0,3 м, r2 = 0,15 м; их радиусы инерции относительно осей вращения равны соответственно p1 = 0,1 м и p2 = 0,2 м. Пренебрегая трением, определить ускорение груза, имеющего больший вес; веса Р1, …, Р6 шкивов и грузов заданы в таблице в ньютонах. Грузы, веса которых равны нулю, на чертеже не изображать (шкивы 1, 2 изображать всегда как части системы).
После оплаты скачайте и распечатайте решение задачи Д10 Вариант 20 (рисунок 2 условие 0) по теормеху из решебника Тарга С.М. 1989 года для студентов-заочников машиностроительных, строительных, транспортных, приборостроительных специальностей высших учебных заведений. Задача оформлена в формате word, добавлена в архив zip.

Буду очень признателен, если после успешной сдачи работы Вы оставите положительный отзыв. Поверьте, для меня это очень Важно.
Заранее спасибо.
13.01.2019 14:41:38
Все хорошо решено.
25.12.2016 21:35:23
Все отлично, спасибо огромное!