Содержимое: d3-03.zip (40.67 KB)
Загружен: 22.07.2013

Положительные отзывы: 0
Отрицательные отзывы: 0

Продано: 4
Возвраты: 0

Продавец: TerMaster
информация о продавце и его товарах

Задать вопрос

Cкидка постоянным покупателям! Если общая сумма ваших покупок у продавца больше чем:

$1 скидка 1%
$3 скидка 2%
$5 скидка 3%
$15 скидка 5%
$30 скидка 7%
$50 скидка 10%
$250 скидка 15%
~ 66.89 ₽
Точная сумма — на странице оплаты
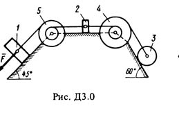
Решение задачи Д3 Вариант 03 по теоретической механике из задачника Тарга С.М. 1988 года. Условие задачи Д3 (стр. 44 в методичке Тарг С.М.): Механическая система состоит из грузов 1 и2 (коэффициент трения грузов о плоскость F = 0,1), цилиндрического сплошного однородного катка 3 и ступенчатых шкивов 4 и 5 с радиусами ступеней R4 = 0,3 м, r4 = 0,1 м, R5 = 0,2 м, r5 = 0,1 м (массу каждого шкива считать равномерно распределенной по его внешнему ободу) (рис. Д3.0-Д3.9, табл. Д3). Тела системы соединены друг с другом нитями, намотанными на шкивы; участки нитей параллельны соответствующим плоскостям. Под действием силы F = f(x), зависящей от перемещения точки приложения силы, система приходит в движение из состояния покоя. При движении системы на шкивы 4 и 5 действуют постоянные моменты сил сопротивлений, равные соответственно M4 и M5. Определить значение искомой величины в тот момент времени, когда перемещение точки приложения силы F равно s1.
Оплатив, Вы получите качественно оформленное, проверенное решение задачи Д3 В03 (рисунок 0 условие 3) по теоретической механике из решебника Тарга С.М. 1988 года для заочников. Решение выполнено по методическим указаниям и контрольным заданиям для студентов-заочников энергетических и других специальностей ВУЗов. Решение оформлено в формате word, упаковано в архив zip. Также решение включено в состав товара со скидкой: "Тарг С.М. 1988 решение 10-ти задач вариант 14".

Буду очень рад, если после успешной сдачи решения Вы вернетесь на сайт и оставите положительный отзыв. Поверьте, для меня это очень Важно.
Заранее спасибо.
Отзывов от покупателей не поступало