Оплатив, Вы получите качественно оформленное, проверенное решение задачи Д3 В79 (рисунок 7 условие 9) по теоретической механике из решебника Тарга С.М. 1988 года для заочников. Решение выполнено по методическим указаниям и контрольным заданиям для студентов-заочников энергетических и других специальностей ВУЗов. Решение оформлено в формате word, упаковано в архив zip. Также решение включено в состав товара со скидкой: "Тарг С.М. 1988 решение 10-ти задач вариант 14".
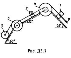
Решение задачи Д3 Вариант 79 по теоретической механике из задачника Тарга С.М. 1988 года. Условие задачи Д3 (стр. 44 в методичке Тарг С.М.): Механическая система состоит из грузов 1 и2 (коэффициент трения грузов о плоскость F = 0,1), цилиндрического сплошного однородного катка 3 и ступенчатых шкивов 4 и 5 с радиусами ступеней R4 = 0,3 м, r4 = 0,1 м, R5 = 0,2 м, r5 = 0,1 м (массу каждого шкива считать равномерно распределенной по его внешнему ободу) (рис. Д3.0-Д3.9, табл. Д3). Тела системы соединены друг с другом нитями, намотанными на шкивы; участки нитей параллельны соответствующим плоскостям. Под действием силы F = f(x), зависящей от перемещения точки приложения силы, система приходит в движение из состояния покоя. При движении системы на шкивы 4 и 5 действуют постоянные моменты сил сопротивлений, равные соответственно M4 и M5. Определить значение искомой величины в тот момент времени, когда перемещение точки приложения силы F равно s1.
Буду очень рад, если после успешной сдачи решения Вы вернетесь на сайт и оставите положительный отзыв. Поверьте, для меня это очень Важно.
Заранее спасибо.
Отзывов от покупателей не поступало