Содержимое: 2.5.6.jpg (22.75 KB)
Загружен: 14.04.2016

Положительные отзывы: 0
Отрицательные отзывы: 0

Продано: 15
Возвраты: 0

Продавец: Михаил_Перович
информация о продавце и его товарах

Задать вопрос

Cкидка постоянным покупателям! Если общая сумма ваших покупок у продавца больше чем:

$1 скидка 1%
$5 скидка 2%
$10 скидка 3%
$20 скидка 5%
$50 скидка 7%
$100 скидка 10%
$200 скидка 15%
~ 60 ₽
Точная сумма — на странице оплаты
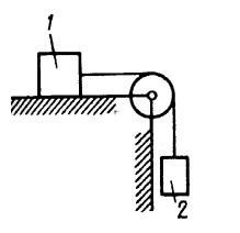
2.5.6
Определить наименьший вес груза 1, при котором он останется в покое, если вес груза 2 равен 140Н, а коэффициент трения скольжения между грузом 1 и плоскостью равен 0,2. (Ответ 700)
Отзывов от покупателей не поступало