Содержимое: d5-14.zip (74.67 KB)
Загружен: 27.11.2015

Положительные отзывы: 0
Отрицательные отзывы: 0

Продано: 17
Возвраты: 0

Продавец: TerMaster
информация о продавце и его товарах

Задать вопрос

Cкидка постоянным покупателям! Если общая сумма ваших покупок у продавца больше чем:

$1 скидка 1%
$3 скидка 2%
$5 скидка 3%
$15 скидка 5%
$30 скидка 7%
$50 скидка 10%
$250 скидка 15%
~ 71 ₽
Точная сумма — на странице оплаты
Термех Диевский В.А. задача Динамика 5 (Д5) на тему «Принцип Даламбера»:
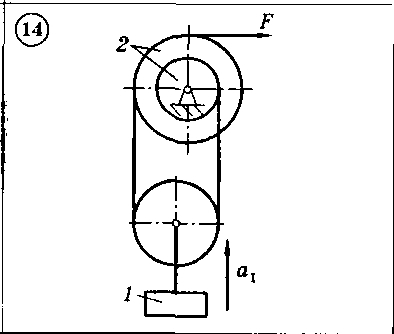
Для приведенных на схемах 1-30 механических систем, используя принцип Даламбера, определить величину силы F,необходимую для перемещения груза с заданным ускорением а1, а также усилие в грузовом тросе. Исходные данные: массы груза т1 и барабана т2, радиус барабана R2 (у двойного барабана имеется также r2), его радиус инерции р2 (если он не указан, тело считать однородным цилиндром), угол а и коэффициент трения скольжения f приведены в таблице. Непронумерованные блоки и катки считать невесомыми. Трением на осях барабана и блоков пренебречь.
Решение задачи Д5 номер строки условий и схема 14
Cразу после оплаты Вы получите ссылку на архив с решением задачи по теоретической механике Д5 В14 (схема 14) из сборника заданий «теоретическая механика» Диевский В.А., Малышева И.А. 2009 года для студентов ВУЗов.
Задача выполнена в формате word (рукописное решение или набрано в ворде), запакована в архив zip (откроется на любом ПК).

После проверки решения буду очень признателен, если вы оставите положительный отзыв.
Отзывов от покупателей не поступало