Содержимое: fiz054_51.doc (49.50 KB)
Загружен: 19.12.2015

Положительные отзывы: 0
Отрицательные отзывы: 0

Продано: 1
Возвраты: 0

~ 20 ₽
Точная сумма — на странице оплаты
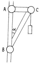
51. К кронштейну ABC (рис.) подвешен груз 87 Н. Угол α = 30°. Определить силы упругости в стержнях ВС и АС. Как будут изменяться эти силы с увеличением угла α?
Подробное решение. Оформлено в Microsoft Word 2003. (Задание решено с использованием редактора формул)
Отзывов от покупателей не поступало