Содержимое: d4-15-2.rar (59.40 KB)
Загружен: 05.09.2018

Положительные отзывы: 0
Отрицательные отзывы: 0

Продано: 3
Возвраты: 0

Продавец: Михаил_Перович
информация о продавце и его товарах

Задать вопрос

Cкидка постоянным покупателям! Если общая сумма ваших покупок у продавца больше чем:

$1 скидка 1%
$5 скидка 2%
$10 скидка 3%
$20 скидка 5%
$50 скидка 7%
$100 скидка 10%
$200 скидка 15%
~ 60 ₽
Точная сумма — на странице оплаты
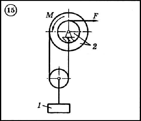
Д4-15 (Задание 2) Диевский

Для представленной на рисунке схеме используя принцип Лагранжа, определить величину силы F (при наличии трения - максимальное значение этой величины), при которой механическая система будет находиться в равновесии. Исходные данные: вес груза G = 20 кН, вращающий момент M = 1 кНм, радиус барабана R2 = 0,4м (у двойного барабана имеется также r2 = 0,2м), угол α = 300 и коэффициент трения скольжения f = 0,5. Ненумерованные блоки и катки считать невесомыми. Трением на осях барабана и блоков пренебречь.
Отзывов от покупателей не поступало