Содержимое: D19-07_lag.tif (17.41 KB)
Загружен: 16.06.2020

Положительные отзывы: 0
Отрицательные отзывы: 0

Продано: 1
Возвраты: 0

Продавец: Михаил_Перович
информация о продавце и его товарах

Задать вопрос

Cкидка постоянным покупателям! Если общая сумма ваших покупок у продавца больше чем:

$1 скидка 1%
$5 скидка 2%
$10 скидка 3%
$20 скидка 5%
$50 скидка 7%
$100 скидка 10%
$200 скидка 15%
~ 25 ₽
Точная сумма — на странице оплаты
ВНИМАНИЕ! Это решение идёт как второй способ к решению Д19-07. Поэтому решение без рисунка!
Рисунок есть в поиске выше "Решение задачи Д19-07 из сборника Яблонского А.А."

Задача Д19-07_Лагранж.tif

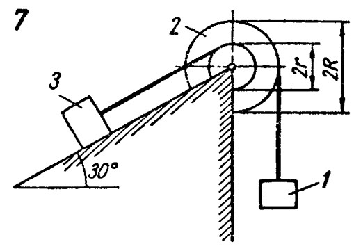
Для заданной механической системы определить ускорения грузов и натяжения в ветвях нитей, к которым прикреплены грузы. Массами нитей пренебречь. Трение качения и силы сопротивления в подшипниках не учитывать. Система движется из состояния покоя.
Варианты механических систем показаны на рис. 198 - 200, а необходимые для решения данные приведены в табл. 55.
Блоки и катки, для которых радиусы инерции в таблице не указаны, считать сплошными однородными цилиндрами.
Отзывов от покупателей не поступало