Содержимое: d19lag_v9.tif (25.55 KB)
Загружен: 03.12.2020

Положительные отзывы: 1
Отрицательные отзывы: 0

Продано: 2
Возвраты: 0

Продавец: Михаил_Перович
информация о продавце и его товарах

Задать вопрос

Cкидка постоянным покупателям! Если общая сумма ваших покупок у продавца больше чем:

$1 скидка 1%
$5 скидка 2%
$10 скидка 3%
$20 скидка 5%
$50 скидка 7%
$100 скидка 10%
$200 скидка 15%
~ 24.99 ₽
Точная сумма — на странице оплаты
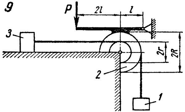
ВНИМАНИЕ! Это решение идёт как второй способ к решению Д19-09. Поэтому решение без рисунка!
Рисунок есть в поиске выше "Решение задачи Д19-09 из сборника Яблонского А.А."

Задача Д19-09_Лагранж.tif

Для заданной механической системы определить ускорения грузов и натяжения в ветвях нитей, к которым прикреплены грузы. Массами нитей пренебречь. Трение качения и силы сопротивления в подшипниках не учитывать. Система движется из состояния покоя.
Варианты механических систем показаны на рис. 198 - 200, а необходимые для решения данные приведены в табл. 55.
Блоки и катки, для которых радиусы инерции в таблице не указаны, считать сплошными однородными цилиндрами.
03.12.2020 14:18:51
Все хорошо! Спасибо!